Intech Industries Manufacturing Co., Ltd. Abastecimiento de Intech Manufacturing

Intech Industries Manufacturing Co.,Ltd

Servicio profesional e integral- Producción - Personalizado - Abastecimiento y comercio - Existencia
  • Inicio
  • Productos estándar
    • Válvulas
      1. Válvula de acero inoxidable
      2. Válvulas de latón
      3. Válvulas de bronce
      4. Válvulas de acero al carbono
    • Reguladores de aire/Filtros de aire/Lubricadores de aire
      1. Regulador de aire
      2. Filtro de aire miniatura
      3. Lubricador de aire miniatura
    • Mirillas/Visor de flujo
      1. Mirilla de latón de alta presión
      2. Mirilla de alta presión de 90°, KCSGFE
      3. Mirilla de latón zincado de baja presión
      4. Mirilla cuadrada fundida
    • Válvula flotadora/válvula de boya
      1. Válvula flotadora de acero inoxidable tipo B
      2. Válvula flotadora de acero inoxidable
      3. Flotadora con medidor del nivel de líquido
    • Medidores de presión
      1. Medidores de presión con carcasa de acero
    • Válvula de drenaje
      1. Válvula de drenaje tipo flotador, 800L
      2. Válvula de drenaje tipo flotador, 400L
      3. Válvula de drenaje electrónico
    • Manguera de aire
      1. Manguera de aire en espiral de nylon
      2. Manguera de aire en espiral de PU
      3. Manguera trenzada de acero inoxidable
    • Acoplamientos y accesorios
      1. Adaptador para manguera contra incendios
      2. Acoplamiento de conexión rápida QCV / QCVP
      3. Adaptador de empuje para manguera de latón
      4. Adaptadores giratorios de tubería NPT x hembra NPT
      5. Accesorio de compresión de latón
      6. Adaptador de manguera de latón
    • Partes de compresor de aire
      1. Válvula de control de aire manual
      2. Interruptor de presión de aire
  • Productos personalizados
    • Válvulas NSF
      1. Mini válvula de bola de latón, 600 PSI
      2. Válvula de compuerta de latón
      3. Válvula antirretorno de oscilación de latón
      4. Mini válvula de bola de acero inoxidable, con manija mariposa
      5. Mini válvula de bola de acero inoxidable NSF
      6. Válvula de bola de latón de 2 piezas, libre de plomo
      7. Válvula de bola de latón libre de plomo
    • Piezas fundidas y forjadas mecanizadas de precisión
    • Componentes de potencia hidráulica y neumática
      1. Manifold, colector
      2. Tanque de aire
      3. Pistola de soplado
      4. Elemento de filtro y mofle
      5. Válvula solenoide
      6. Medidor de presión
    • Partes de caucho y plástico
  • Servicios personalizados
  • Nosotros
  • Vídeo
  • Contacto
  1. Inicio
  2. Productos estándar
  3. Válvulas
  4. Válvulas de latón
  5. Valvula de bola de latón
  6. Mini válvula de bola económico

Mini válvula de bola económico

  • Mini válvula de bola económico
Solicitud
  • Presión de trabajo: 450 PSI
  • Rango de temperatura: -4 ° F a +250 °F (-20 °C a +120 °C)
  • Conexión: macho x macho o macho x hembra
  • Mango de aluminio fundido y cuerpo hexagonal de 20mm
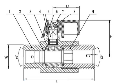
Pulgadas/Métrica (mm)
Item # Tamaño W D L L1 H
370-1813
1/4"
1/4" BSPP, MxF 0.31/8 1.57/40 0.91/23 1.14/29
QM3351-0898
1/2"

1/2"BSPP,MxF
0.39/10 2.32/59 0.91/23 1.26/31.9
QM335-2834
1/2"

1/2"BSPP,MxM
0.39/10 2.42/61.5 0.91/23 1.26/31.9
  • Mini válvula de bola económico
  • Mini válvula de bola económico
  • Mini válvula de bola económico
Parte # Nombre de la parte Cantidad Material
1 Cuerpo 1 Latón
2 Asiento 2 PTFE
3 Bola 1 Latón
4 Anillo O 2 NBR
5 Vástago 1 Latón
6 Manija 1 Aluminio fundido
7 Tornillo 1 Acero inoxidable
8 Roldana 1 65Mn
9 Tapa 1 Latón
Intech Manufacturing es un fabricante profesional y de alta experiencia de válvulas estándar y personalizadas, acoplamientos y accesorios, partes de mecanizado, partes de plástico y de caucho, entre otros. Podemos brindar productos personalizados hechos de acero inoxidable, latón, bronce, acero al carbono, aluminio y plástico. Además de la producción, también ofrecemos abastecimiento comercial para válvulas, accesorios, mangueras o partes de mecanizado que no lo realizamos en nuestra fábrica. Conforme a sus necesidades especiales, podemos brindarle soluciones integrales personalizadas.
Tags
Mini válvula de bola económico válvula de bola válvula de latón
Lista de productos
Productos relacionados
    1. Mini válvula de bola de latón, MMTH & MFTH
    2. Mini válvula de bola de latón, MMTH & MFTH
    1. Válvula de bola de desvío de 3 vías
    2. Válvula de bola de desvío de 3 vías
    1. Válvula de bola de 3 vías 2 llaves
    2. Válvula de bola de 3 vías 2 llaves
    1. Válvula de bola de 3 vías 2 llaves, para manguera contra incendios
    2. Válvula de bola de 3 vías 2 llaves, para manguera contra incendios
    1. Válvula de bola de latón con filtro, para trabajos pesados
    2. Válvula de bola de latón con filtro, para trabajos pesados
    1. Válvula de bola de latón, con manija ovalada
    2. Válvula de bola de latón, con manija ovalada
    1. Válvula de bola de latón niquelado
    2. Válvula de bola de latón niquelado
    1. Válvula de bola de puerto completo, con brida de aislamiento
    2. Válvula de bola de puerto completo, con brida de aislamiento
Productos estándar
  • Válvulas
    1. Válvula de acero inoxidable
    2. Válvulas de latón
    3. Válvulas de bronce
    4. Válvulas de acero al carbono
  • Reguladores de aire/Filtros de aire/Lubricadores de aire
    1. Regulador de aire
    2. Filtro de aire miniatura
    3. Lubricador de aire miniatura
  • Mirillas/Visor de flujo
    1. Mirilla de latón de alta presión
    2. Mirilla de alta presión de 90°, KCSGFE
    3. Mirilla de latón zincado de baja presión
    4. Mirilla cuadrada fundida
  • Válvula flotadora/válvula de boya
    1. Válvula flotadora de acero inoxidable tipo B
    2. Válvula flotadora de acero inoxidable
    3. Flotadora con medidor del nivel de líquido
  • Medidores de presión
    1. Medidores de presión con carcasa de acero
  • Válvula de drenaje
    1. Válvula de drenaje tipo flotador, 800L
    2. Válvula de drenaje tipo flotador, 400L
    3. Válvula de drenaje electrónico
  • Manguera de aire
    1. Manguera de aire en espiral de nylon
    2. Manguera de aire en espiral de PU
    3. Manguera trenzada de acero inoxidable
  • Acoplamientos y accesorios
    1. Adaptador para manguera contra incendios
    2. Acoplamiento de conexión rápida QCV / QCVP
    3. Adaptador de empuje para manguera de latón
    4. Adaptadores giratorios de tubería NPT x hembra NPT
    5. Accesorio de compresión de latón
    6. Adaptador de manguera de latón
  • Partes de compresor de aire
    1. Válvula de control de aire manual
    2. Interruptor de presión de aire
Solicitud

Intech Manufacturing es un fabricante profesional de válvulas, acoplamientos y accesorios estándar y personalizados, partes de mecanizado, partes de plástico y partes de caucho, entre otros.

  • Productos estándar
    1. Válvulas
    2. Reguladores de aire/Filtros de aire/Lubricadores de aire
    3. Mirillas/Visor de flujo
    4. Válvula flotadora/válvula de boya
    5. Medidores de presión
    6. Válvula de drenaje
    7. Manguera de aire
    8. Acoplamientos y accesorios
    9. Partes de compresor de aire
  • Productos personalizados
    1. Válvulas NSF
    2. Piezas fundidas y forjadas mecanizadas de precisión
    3. Componentes de potencia hidráulica y neumática
    4. Partes de caucho y plástico
  • Servicios personalizados
    1. Qué realizamos
    2. Capacidad de producción
    3. Proceso de personalización
  • Contacto
  • Dirección de la oficina: C806B, Senlan Meihuan Building, 519 Qifan Road, Pudong, Shanghai China
    Dirección de la fábrica: 8 Huadian,Jintan Industry Area,Jintan,Changzhou,Jiangsu
Supported by ETW International Inc. USA