Válvula de compuerta de latón
- Presión normal de trabajo: 200 PSI
- Presión de trabajo promedio: 125 PSI
- Rango de temperatura: -40 °F a 300 °F ( -40 °C a+150 °C)
- Construcción de latón forjado
- 1/2" puerto completo
- 3/4" y por encima del puerto regular
- Conexión hembra x hembra
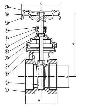
| Parte # | Nombre de la parte | Material |
| 1 | Cuerpo | Latón |
| 2 | Disco | Latón |
| 3 | Obturador | PTFE |
| 4 | Capó | Latón |
| 5 | Vástago | Latón |
| 6 | Anillo de parada | Latón |
| 7 | Empaquetadura | PTFE |
| 8 | Capó prensa estopa | Latón |
| 9 | Tuerca de empaquetadura | Latón |
| 10 | Manivela | Hierro fundido |
| 11 | Tuerca | Acero |
| 12 | Placa de nombre | Aluminio |
Pulgada/Métrica (mm)
| Item # | Tamaño | D | L | H | W |
| Pulgadas | mm | Pulgadas | mm | Pulgadas | mm | Pulgadas | mm | Pulgadas | mm |
| BGV-50 | 1/2" | 12.70 | 0.51" | 12.95 | 2.13" | 54.10 | 2.83" | 71.88 | 1.57" | 39.87 |
| BGV-75 | 3/4" | 19.05 | 0.61" | 15.49 | 2.13" | 54.10 | 3.07" | 77.98 | 1.69" | 42.93 |
| BGV-100 | 1" | 25.40 | 0.77" | 19.56 | 2.32" | 58.93 | 3.43" | 87.12 | 1.99" | 50.55 |
| BGV-120 | 1-1/4" | 31.75 | 1" | 25.40 | 2.87" | 72.90 | 4.02" | 102.11 | 2.05" | 52.07 |
| BGV-150 | 1-1/2" | 38.10 | 1.24" | 31.50 | 2.87" | 72.90 | 4.53" | 115.06 | 2.17" | 55.12 |
| BGV-200 | 2" | 50.80 | 1.71" | 43.43 | 3.11" | 78.99 | 5.31" | 134.87 | 2.56" | 65.02 |
| BGV-250 | 2-1/2" | 63.50 | 2.22 | 56.39 | 3.78" | 96.01 | 6.89" | 175.01 | 3.27" | 83.06 |
| BGV-300 | 3" | 76.20 | 2.72 | 69.09 | 4.33" | 109.98 | 7.87" | 199.90 | 3.86" | 98.04 |
| BGV-400 | 4" | 101.60 | 3.43 | 87.12 | 5.12" | 130.05 | 9.17" | 232.92 | 4.06" | 103.12 |
Intech Manufacturing es un fabricante profesional y de alta experiencia de válvulas estándar y personalizadas, acoplamientos y accesorios, partes de mecanizado, partes de plástico y de caucho, entre otros. Podemos brindar productos personalizados hechos de acero inoxidable, latón, bronce, acero al carbono, aluminio y plástico. Además de la producción, también ofrecemos abastecimiento comercial para válvulas, accesorios, mangueras o partes de mecanizado que no lo realizamos en nuestra fábrica. Conforme a sus necesidades especiales, podemos brindarle soluciones integrales personalizadas.